We use cookies to make your experience better. To comply with the new e-Privacy directive, we need to ask for your consent to set the cookies. Learn more.
Out of stock
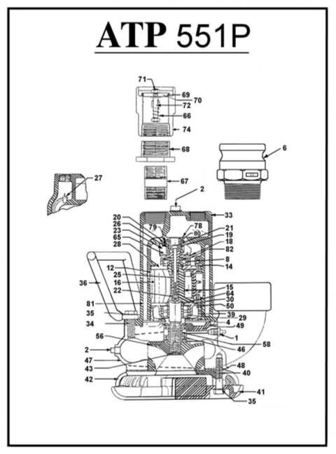
ATP551P
CENTRIFUGAL SUMP PUMP
Features
- Submersible
- Lightweight
- Portable
- Cast iron housing construction
- Steel impeller
- Built in oiler
Specifications
| Overall Length - in | 20 |
|---|---|
| Overall Length mm | 513 |
| Net Weight lb | 41 |
| Net Weight kg | 18.60 |
| Hose Size ID in | 1/2 |
| Hose Size ID mm | 13 |
| Air Swivel Inlet Male NPT in | 1/2 |
| Housing | Cast Iron |
| Performance Pressure PSIG | 90 |
| Performance Pressure Bar | 6.2 |
| Air Consumption cfm | 75 |
| Air Consumption l/min | 2,124 |